CCTV Poles & Columns
Tubular Poles, Square Poles, Lamp Post Columns and Wall/Corner Mounted Poles
Our range of CCTV poles and colums include fixed and tilt over columns. They are available in off the shelf heights up to 10 meters and have a galvanised finish as standard. We also offer custom/bespoke versions tailored to the customer's requirements in various paint finishes to match any surrounding scheme.
We also provide a wide range of wall and corner mounted poles providing a cost effective solution for locations with existing buildings and structures.
-
Square Wall Mounted Poles (WPB) WPB Range -
Swing-In Camera Brackets - FS Range Swing-In Camera Brackets - FS Range -
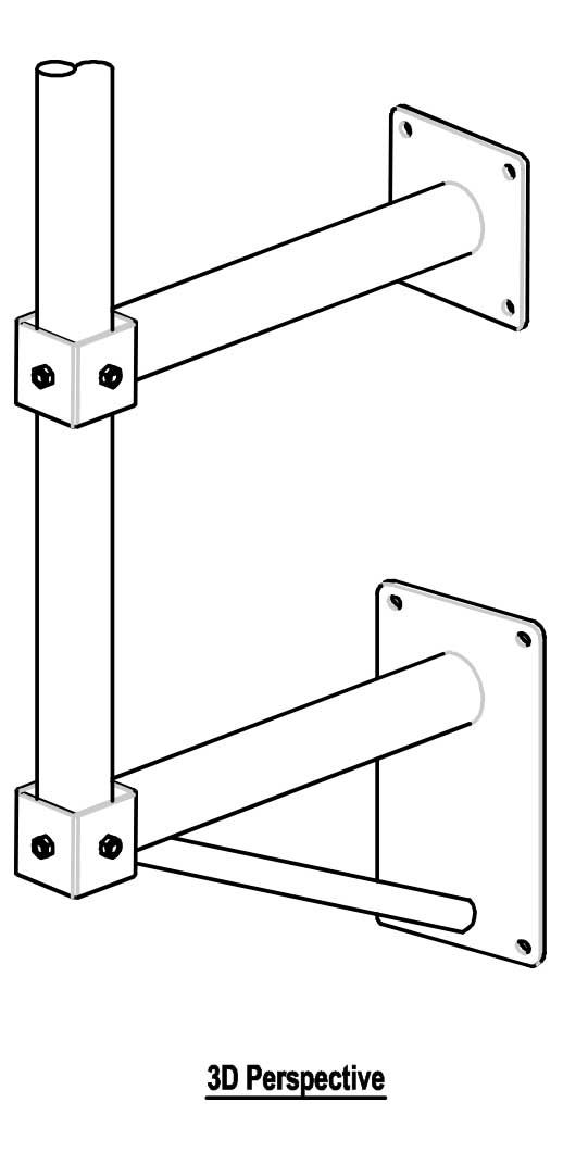
Tubular Wall Mounted Pole (WP) Tubular Wall Mounted Pole (WP) -
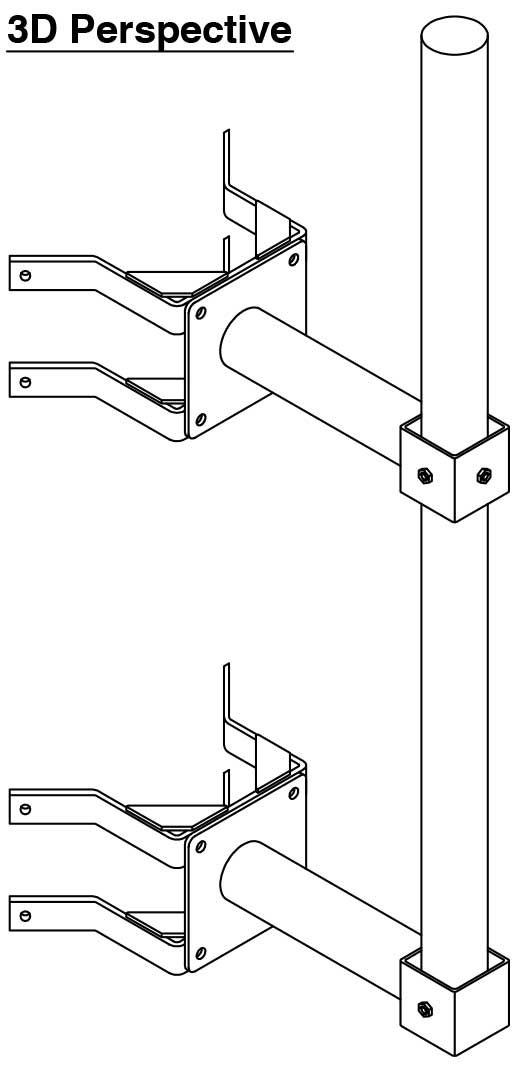
Tubular Corner Mounted Pole (CP) Tubular Corner Mounted Pole (CP)
NOT SURE WHICH IS THE RIGHT PRODUCT FOR YOU?
CONTACT OUR EXPERIENCED SALES TEAM FOR ASSISTANCE












